PG电子官方网站-PG电子智能科技有限公司

您好!欢迎访问PG电子智能科技有限公司官方网站!16年专注智能驾驶技术研发

研发中心
MON-FRI 9:00-18:00

技术服务热线
13361299266

总部地址
山东省青岛市李沧区金水路328号D区9号

新闻动态

“座舱盖”防护系统是对“顶棚”的升级提高坦克防无人机能力

来源:网络日期:2025-10-09 浏览:

  旷日持久的俄乌战争中,并未出现原本军界和军迷想象中的坦克大战,即便乌军曾经一度突破俄军防线,闯入俄罗斯本土库尔斯克州,然而在一望无际的草原上,也未重现二战时期数千辆坦克对垒的库尔斯克大决战的场景。

  因为第一人称视觉(FPV)无人机,也称穿越机(穿梭机)的大量使用,这些高度智能化的多旋翼自杀式无人机,携带的小型精确制导炸弹,专门攻击坦克、步战车、自行火炮等装甲战车顶部的薄弱装甲,让这些高价值的地面目标丧失作战能力,从而取得以小博大的战绩。

“座舱盖”防护系统是对“顶棚”的升级提高坦克防无人机能力(图1)

  价格极其低廉的小型无人机,对于拥有厚重装甲保护动辄数百万美元起步的坦克的巨大压制,对于任何一支由坦克等装甲战车组成的机械化作战部队来说,都是极为严峻的来自战场上的挑战。

  于是,在俄乌参战的坦克上,出现了反无人机钢丝遮蔽网,也被称为反无人机“顶棚”。俄罗斯人发展到极致时,在乌东前线还出现过“乌龟” 坦克——不仅仅是坦克的炮塔上方,而是整个坦克的上层部位,都遮蔽了一张钢结构支撑起来的巨大的钢(铁)丝网。

“座舱盖”防护系统是对“顶棚”的升级提高坦克防无人机能力(图2)

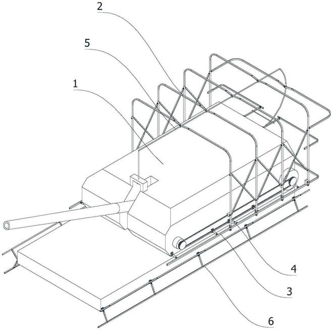
  综合乌克兰防务网站10月1日和防务博客网站10月7日报道,中国龙之盾智能装备(芜湖)有限公司,已经申请了一种与乌克兰战场发明非常相似的坦克可折叠反无人机“座舱盖”(外网上也有称反无人机“盾牌”)的专利。标志着俄乌战场上对于坦克等装甲战车的防护设计,在中国出现的生动且真实的案例。

  此前,央视曾经公开报道的涉军题材中,在西部沙漠戈壁的贴近实战环境的演PG电子官方平台入口习中,中国陆军某集团军下辖的机械化旅装备的15式轻型坦克在镜头中出现时,明显装备了反无人机钢制“顶棚”。

“座舱盖”防护系统是对“顶棚”的升级提高坦克防无人机能力(图3)

  俄乌战场上,乌克兰军队使用的 “防护罩” 系统,在经过实战检验以后,证明能有效抵御无人机攻击。俄军方也认可乌军“防护罩”的有效性,并依样画葫芦地应用于自身坦克的防护,让俄罗斯成为第一个复制乌克兰可折叠反无人机“座舱盖”概念的国家。

  据悉,安徽龙之盾智能装备公司的专利版本,在保持核心防护原理不变的基础上,引入了更为复杂的工程设计。系统由一个轻质、可折叠、防爆的保护网组成,旨在保护坦克免受携带悬挂弹药无人机的伤害。

“座舱盖”防护系统是对“顶棚”的升级提高坦克防无人机能力(图4)

  采用滑轨和电机驱动机制,允许防护结构在坦克炮塔上方自动开启或关闭。坦克乘员从车内,即可激活这套防护系统,而无需冒着风险暴露在外部环境中进行人工操作。

  系统独立于炮塔,安装在坦克的车体上。在不使用的时候,紧凑地折叠在坦克车体上,从而减小整体尺寸;折叠后顶篷与车辆结构齐平,并提高坦克的机动性。

“座舱盖”防护系统是对“顶棚”的升级提高坦克防无人机能力(图5)

  只是在战场复杂的无人机覆盖的场景下,允许该系统在必要时部署。在部署的状态下,它覆盖了坦克的上表面,起到的作用就是让坦克免遭配备简易爆炸装置或专用反装甲弹药无人机的攻击。

  现在,中国安徽的这家民营企业,看来也受到了俄乌战争中小型无人机对坦克等高价值作战装备所带来的严重威胁,研发成功的反无人机防护系统,且正在通过更多工业化功能来推进。

“座舱盖”防护系统是对“顶棚”的升级提高坦克防无人机能力(图6)

  这项中国专利凸显了坦克等作战装备对于模块化、适应性强的保护系统不断增长的需求,这一防护装置若被中国人民解放军陆军采购和装备,将让现役坦克、步战车、自行火炮等作战装备获得防无人机袭击的一种有效的被动应对措施,进而提高装甲战车在未来战场上的生存能力。

  当然,对于坦克等高价值的地面作战装备而言,在如何应对无所不在的自杀性无人机威胁的问题上,终极解决方案恐怕是由相控阵雷达、光学/红外探测装置360°无死角的态势感知能力和能发射导弹、榴弹、炮弹等进行拦击的主动防御系统。

“座舱盖”防护系统是对“顶棚”的升级提高坦克防无人机能力(图7)

  但是这并不能马上解决坦克面临无人机袭击迫在眉睫的问题,况且提高坦克等装甲车辆的态势感知性能和搭载主动防御系统,无疑将提高战车的采购和装备价格。

  这对于军费也是一个极其严峻的考验,因此采用滑轨和电机驱动机制的防无人机保护系统,至少在现阶段有其存在的合理性,本文作者国平视野这么认为。

“座舱盖”防护系统是对“顶棚”的升级提高坦克防无人机能力(图8)

  至于安徽龙之盾智能装备公司研发并申请专利的防无人机保护装置,在接下来是否会进入量产或者正式集成到解放军陆军的装甲部队中,还有待时间来观察,不妨让子弹先飞一会儿。

  但这套防无人机“座舱盖”装置的横空出世,却反映了俄乌战争在全球已经广为传播,其影响力的外溢速度有多快——已经加速了全球军界对无人机防御的兴趣,正在开发类似的防无人机攻击的相关装置。

  特别声明:以上内容(如有图片或视频亦包括在内)为自媒体平台“网易号”用户上传并发布,本平台仅提供信息存储服务。

  8岁女童被同学踢踹致下体破裂出血,确诊应激障碍!家长:对方愿赔8000元,孩子转学遇难题

  湖南知名投资人肖庆平车祸离世,朋友圈定格西藏:第一次到西藏,也是最后没到过的省份

  美联储,重磅来袭!降息传出大消息!鲍威尔将于10月9日美股盘前发表讲线

  确认了:上海气温即将反扑!今夏已经长达150天,植物开始乱开花,返程天气提示→

  长沙女子双节返程发现母亲在大米里藏了1000元现金,“世界上最爱你的永远是妈妈”

  网友称南通一动物园羊驼被投喂吃撑倒地翻白眼,园方回应:确实是吃饱了,“不会撑死,旁边有饲养员在观察”

  杨兰兰身份+账号被扒,Chanel顶级VIP!悉大商科留学生,年消费100万澳币!“英语差,不上课,只混华人圈”

  拉基蒂奇、布斯克茨、阿尔巴退役,巴萨上次欧冠夺冠首发仅剩特狮+MSN现役

  《编码物候》展览开幕 北京时代美术馆以科学艺术解读数字与生物交织的宇宙节律

新闻动态 丨NEWS

联系方式丨CONTACT

  • 全国热线:13361299266
  • 传真热线:0532-85912223
  • 业务咨询:13361299266
  • 企业邮箱:tech@pg-smarttech.com
首页
电话
邮件
咨询